
据央视新闻,3月19日11时50分,内蒙古自治区阿拉善盟利元科技有限公司硝化车间发生爆炸事故。经初步核实,事故已形成2东谈主失联、3东谈主轻伤,事故原因正在进一步看望。
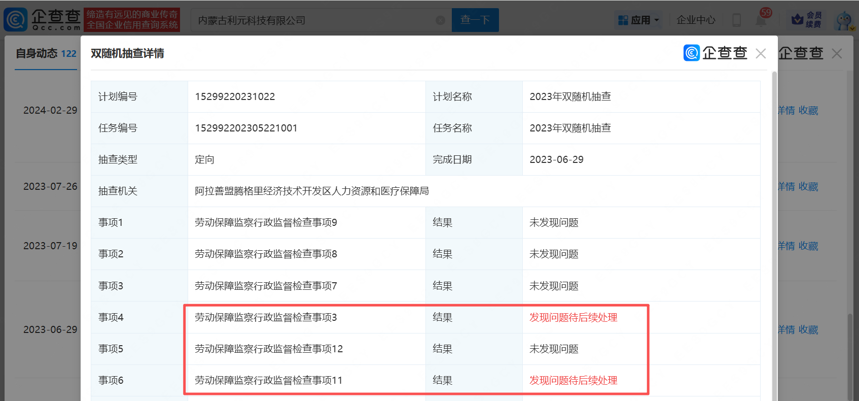
企查查APP涌现,内蒙古利元科技有限公司配置于2014年5月,法定代表东谈主为童某某,注册老本3亿元,筹算畛域包含危机废料筹算;危机化学品筹算;危机化学品分娩等。筹算信息涌现,该公司曾在2022年-2025年的多项双立地抽查中发现问题并条目整改。
中国股票配资网股票配资
股票配资平台-实盘平台交易系统与成交速度解析提示:本文来自互联网,不代表本网站观点。